Projekt Reduktor

Pytanie z projektu

Dyskusje dotyczące spraw związanych z rysunkiem technicznym

Autor tematu
witus27
Nowy użytkownik, używaj wyszukiwarki
Nowy użytkownik, używaj wyszukiwarki
Posty w temacie: 2
Posty: 2
Rejestracja: 25 sie 2025, 12:04

Projekt Reduktor

#1

Post napisał: witus27 » 25 sie 2025, 12:09

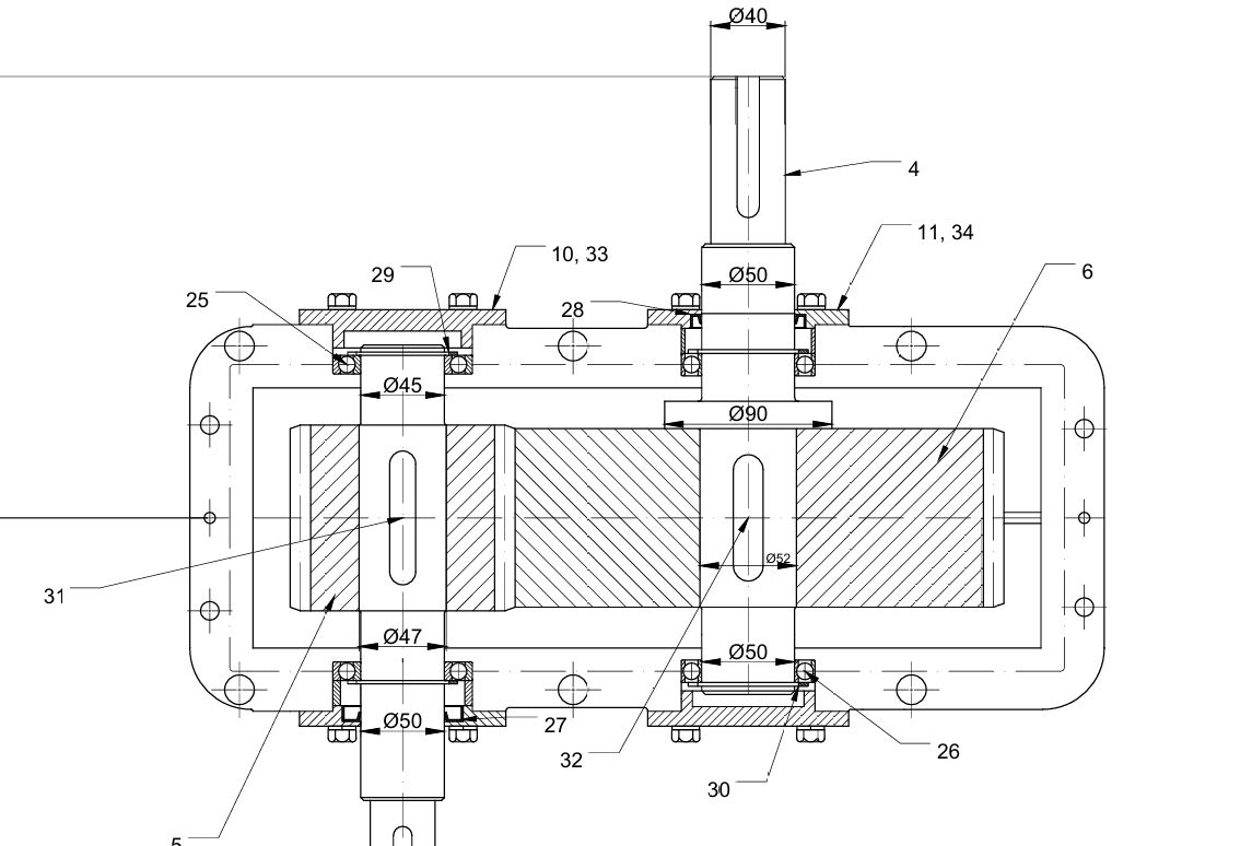
Mam takie jedno pytanie. Wykonałem projekt reduktora, natomiast nie został on przyjęty, ponieważ między innymi źle ustaliłem łożyska. 1. Pomógłby ktoś wyjaśnić jak miałbym je narysować poprawnie i gdzie jest błąd? 2. Czy są być może jeszcze jakieś inne widoczne błędy na rysunku oprócz samych łożysk. Obrazek




Steryd
Lider FORUM (min. 2000)
Lider FORUM (min. 2000)
Posty w temacie: 1
Posty: 4563
Rejestracja: 13 lut 2017, 19:34
Lokalizacja: Szczecin

Re: Projekt Reduktor

#2

Post napisał: Steryd » 25 sie 2025, 13:38

Łożyska są owszem źle ustalone. O ile na lewym wałku jest jako tako, pod warunkiem, że nie przewidujesz obciążenia osiowego, to na prawym jest przekombinowane. Pomyśl co ustalasz i czym- np. po co w górnej części zaciskasz pokrywą zewnętrzny pierścień łożyska?

Z kolei koła zębate nie są ustalone osiowo w ogóle. No i po co mają różne długości? To spowoduje problemy po zużyciu zębów.
Można?
Morzna!!!


Autor tematu
witus27
Nowy użytkownik, używaj wyszukiwarki
Nowy użytkownik, używaj wyszukiwarki
Posty w temacie: 2
Posty: 2
Rejestracja: 25 sie 2025, 12:04

Re: Projekt Reduktor

#3

Post napisał: witus27 » 25 sie 2025, 18:02

Dzięki za pomoc. Jak najlepiej byś ustalił te łożyska po lewej i prawej stronie? Może to głupie pytanie ale dlaczego koła nie są ustawione osiowo? Planowanie reduktora robiłem na podstawie poradnika w którym podstawiałem różne wartości z obliczeń typu dw1,dw2,da1,da2 itp oraz niektóre przyjmowałem i tak końcowo mi on wyszedł. Tutaj od prowadzącego przedmiot dostałem jakąś wskazówkę dotyczącą łożyska, bo na rysował mi jakieś linie zakreskowane ale nie wiem o co dokładnie mu chodziło.
Załączniki
lozysko1.png

Awatar użytkownika

grg12
ELITA FORUM (min. 1000)
ELITA FORUM (min. 1000)
Posty w temacie: 1
Posty: 1771
Rejestracja: 03 sty 2007, 14:27
Lokalizacja: Wiedeń

Re: Projekt Reduktor

#4

Post napisał: grg12 » 25 sie 2025, 18:58

Chodziło o to że obudowa reduktora dotyka w tym miejscu wału i wewnętrznej bieżni łożyska.


upadły_mnich
ELITA FORUM (min. 1000)
ELITA FORUM (min. 1000)
Posty w temacie: 1
Posty: 1612
Rejestracja: 09 gru 2005, 11:52
Lokalizacja: Lublin

Re: Projekt Reduktor

#5

Post napisał: upadły_mnich » 27 sie 2025, 20:35

jednorazowy gość.
sprawność wg kobiety: stosunek wielkości wyjętej do wielkości włożonej


bear
ELITA FORUM (min. 1000)
ELITA FORUM (min. 1000)
Posty w temacie: 2
Posty: 1321
Rejestracja: 15 gru 2014, 23:03
Lokalizacja: Łódź

Re: Projekt Reduktor

#6

Post napisał: bear » 27 sie 2025, 21:41

Tu jest pełno błędów, nawet śruby są wkręcone w uszczelniacz...


19Janusz53
Sympatyk forum poziom 1 (min. 40)
Sympatyk forum poziom 1 (min. 40)
Posty w temacie: 1
Posty: 42
Rejestracja: 18 sty 2019, 20:52

Re: Projekt Reduktor

#7

Post napisał: 19Janusz53 » 27 sie 2025, 23:24

Około 80% projektu do poprawy. Proponuję przejrzeć kilka reduktorów w poradnikach i wg nich wprowadzić poprawki. Na sieć należy patrzeć z dużym przymrużeniem oka , ponieważ wiele projektów jest takich jak Autora tematu.


brandnew
Specjalista poziom 1 (min. 100)
Specjalista poziom 1 (min. 100)
Posty w temacie: 1
Posty: 136
Rejestracja: 23 lut 2021, 21:01

Re: Projekt Reduktor

#8

Post napisał: brandnew » 28 sie 2025, 08:25

Tu jest pełno błędów, nawet śruby są wkręcone w uszczelniacz...

Rzeczywiście błędów jest sporo, ale jakoś nikt nie pokazał jakie to są błędy.
Ja zaryzykuję, chociaż nie zajmuję się tym na codzień.
Widzę dwa rodzaje będów - konstrukcyjne i rysunkowe.
Błędy konstrukcyjne:
1. Bieżnie zewnętrzne (nieruchome) i wewnętrzne (ruchome) łożysk dotykają nieruchomej obudowy Obrazek
2. Jedno z łożysk wałka powinno być stałe, a drugie swobodne - w tym projekcie tak nie jest
Obrazek
3. Pierścienie nie są osadzone w wałku
Obrazek Obrazek
4. Dlaczego współpracujące koła mają różną szerokość?
Obrazek

Błędy rysunkowe
1. Rózne kierunki kreskowania tych samych elementów po dwóch stronach osi symetrii
Obrazek
Obrazek
2. Bieżnie tego łożyska wydają się być rachityczne w porónaniu do średnicy kulek i łożyska o takiej samej średnicy na sąsiednim wałku
Obrazek
3. Wymiary średnicy wałka - część o większej średnicy ma wymiar fi47, a o mniejszej fi50
Obrazek
4. Oś symertri kołnierza - czego dotyczy?
Obrazek


adadur
Specjalista poziom 1 (min. 100)
Specjalista poziom 1 (min. 100)
Posty w temacie: 2
Posty: 269
Rejestracja: 11 wrz 2018, 08:23

Re: Projekt Reduktor

#9

Post napisał: adadur » 03 wrz 2025, 10:45

Główny problem to osadzenie łożysk i brak zrozumienia tego zagadnienia, na kreskowania, jakieś linie za dużo czy za mało często da się przymknąć oko i może trochę zaniżą oceną, ale tu wykazałeś się brakiem wiedzy co zdyskwalifikowało zaliczenie.
Osadzenie łożysk powinno być tak wykonane aby wprowadzić możliwość napięcia wstępnego (jakie są na to rozwiązania poszukaj w literaturze chociażby) - napięcie to niweluje luz wewnętrzny w łożysku co się przekłada na jego trwałość i niezawodność pracy do tego łożysko jest w stanie przenosić obciążenia osiowe, kulkowe łożysko przeniesie je mniejsze, skośne czy baryłkowe większe, ale to ile ma przenieść tego obciążenia uwarunkowane jest obliczeniami, które zapewne również masz wykonać do tego zadania - reasumując, to dobór łożysk.
Polecam tez poszukać książki Łożyska toczne - Katalog - informator FŁT.
Bardzo dobrym podręcznikiem do tego tematu będzie PKM Kurmaz


bear
ELITA FORUM (min. 1000)
ELITA FORUM (min. 1000)
Posty w temacie: 2
Posty: 1321
Rejestracja: 15 gru 2014, 23:03
Lokalizacja: Łódź

Re: Projekt Reduktor

#10

Post napisał: bear » 03 wrz 2025, 11:10

adadur pisze:Osadzenie łożysk powinno być tak wykonane aby wprowadzić możliwość napięcia wstępnego (jakie są na to rozwiązania poszukaj w literaturze chociażby) - napięcie to niweluje luz wewnętrzny w łożysku co się przekłada na jego trwałość i niezawodność pracy do tego łożysko jest w stanie przenosić obciążenia osiowe, kulkowe łożysko przeniesie je mniejsze, skośne czy baryłkowe większe, ale to ile ma przenieść tego obciążenia uwarunkowane jest obliczeniami, które zapewne również masz wykonać do tego zadania - reasumując, to dobór łożysk

Nie prawda kolego, można bez problemu zaprojektować taką przekładnie na łożyskach kulkowych i ich użycie przez autora nie jest błędem. Domyślam się że nawet celowo dostał takie zadanie aby wykonać to na tego typu łożyskach ponieważ jest przy tym więcej pracy i więcej główkowania. Na skośnych takie obliczenia robi się za łatwo.
Błędy są wynikiem brakiem wyobraźni jaka taka przekładnia jest zbudowana, ale nie jest to nic dziwnego w naszej edukacji. Często się tak dzieje że od studentów wymaga się rzeczy których nikt im nigdy nie pokazał, trudno żeby później nie mieli problemów z projektowaniem.

ODPOWIEDZ Poprzedni tematNastępny temat

Wróć do „Rysunek techniczny”